国硅集成授权代理商700V带使能和故障报告的三相半桥驱动芯片NSG6060
国硅集成授权代理商700V带使能和故障报告的三相半桥驱动芯片NSG6060
最高工作电压为700V
兼容3.3V、5V、15V输入逻辑
dV/dt耐受能力可达±50V/nsec
Vs负压耐受能力达-9V
栅极驱动电压:12V到20V
集成前沿的输入滤波功能
所有传输通道输入边沿触发
所有通道都受欠压锁定电路保护
防直通死区逻辑
过流关断全部六个通道
外部编程故障清除时间
独立的三路半桥驱动电路
所有通道延时匹配
集成自举二极管
符合RoSH标准
三、应用范围
空调/洗衣机
通用逆变器
微型逆变器驱动
四、器件信息

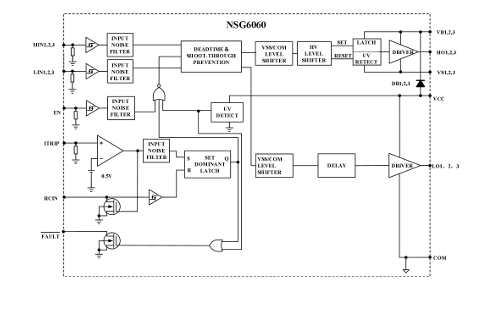
五、简化示意图

![]()
全国咨询热线:18929103949(微信同号) 唐小姐
销售部电话:0769-81150556
工程部电话:0769-85638990
QQ:1923681612
邮箱:dgzm699@163.com
总部地址:东莞市大岭山镇矮岭冚村沿河东街8号
佛山办事处:佛山市顺德区容桂镇细滘德宝北路合安街19号
中铭官网:www.zm699.com
| * 联系人: | 请填写您的真实姓名 |
| * 手机号码: | 请填写您的联系电话 |
| 电子邮件: | |
| * 采购意向描述: | |
| 请填写采购的产品数量和产品描述,方便我们进行统一备货。 | |
| 验证码: |
|
| 我要评论: | |
| 内 容: |
(内容最多500个汉字,1000个字符) |
| 验证码: | 看不清?! |
销售电话:0769-81150556
工程电话:0769-85638990
传真:0769-83351643
地址:东莞市矮岭冚村沿河东街8号





共有-条评论【我要评论】