灵动微32位单片机MM32SPIN060G应用于服务器风机/泵类/风机类/PWM通信控制电机应用32系列单片机
灵动微32位单片机MM32SPIN060G应用于
服务器风机/泵类/风机类/PWM通信控制电机应用32系列单片机
一、总览
1.1. 概述
MM32SPIN060G是MindSPIN旗下的高性能32位运动控制MCU,使用Cortex®-M0为内核,最高工作频率可达60MHz,内置32KB高速存储器,多达11个GPIO;内置5V输出的LDO稳压
器、三相栅极驱动器。集成了1路12位的模数转换器ADC、2路模拟比较器COMP、2路运算放大器OPAMP、1个32位通用定时器、3个16位基本定时器、1个16位高级定时器;1个USART
接口可作为UART或SPI通信。
本产品预驱最大支持电压为100V,内部LDO支持工作范围5.5~18V,工作环境温度范围-40℃℃~105℃℃。
本产品封装形式为QFN32(4mmx4mm)
这些丰富的外设配置,使得本产品微控制器适用于多种应用场合:
电机驱动和应用控制
落地扇
服务器风机
泵类
风机类
1.2. 产品简述
• 内核与系统
–Arm®Cortex®-M0 32位微控制器
–最高工作频率可达60MHz
–硬件除法器(32Bit)
–2通道DMA
• 存储器
–高达32KB的Flash程序存储器
–高达4KB SRAM
–3KB的独立Flash空间可用于程序存储或者数据存储
• 时钟、复位和电源管理
–2.5V∼5.5V供电
–上电/断电复位(POR/PDR)、可编程电压监测器 (PVD)
–内嵌经出厂调校的60MHz高速RC振荡器
–40KHz的LSI
•低功耗
–停机(stop)模式,功耗110uA
• 1个12位模数转换器,1μS转换时间
–9路外部通道,1路内部通道
–转换范围:0∼VDD
–支持注入模式
–支持多组数据缓存
–支持采样时间和分辨率配置
–片上温度传感器
–片上电压传感器
• 2个模拟比较器
• 2个运算放大器
• 1个DMA控制器,共2通道
–支持的外设包括:Timer、ADC、USART
• 多达11个快速I/O端口:
–所有I/O口可以映像到16个外部中断
–所有端口均可输入输出VDD 信号
•7个定时器
–1个16位4通道高级控制定时器(TIM1),有4通道PWM互补输出,以及死区生成、硬件移相和刹车功能
–1个32位通用定时器(TIM2),有高达4个输入捕获/输出比较
–2个16位基本定时器(TIM13、TIM14),有1个输入捕获/输出比较
–1个16位定时器(TIM6),支持中断触发
–1个独立看门狗定时器
–1个Systick定时器:24 位自减型计数器
• 调试模式
–串行调试接口 (SWD)
• PWM和FG管脚,可复用为烧录功能
• LDO稳压器
–内部集成LDO,除供MCU内部使用外,亦可对外提供5V供电,驱动电流50mA
–输入电压5.5V~18V
• 集成三相栅极驱动器
– 耐压:100V–支持电压UVLO保护
–集成自举二极管
–死区时间 200ns
•通信接口
–1个USART接口,能支持UART和SPI通信
–支持四线烧录(详见 3.5.2)
• 96位芯片唯一ID(UID)
• 采用QFN32封装
二、规格说明
2.1. 型号列表
2.1.1. 订购信息
.png)
2.1.2. 丝印
丝印标识QFN
型号丝印示意:
.png)
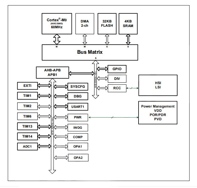
2.1.3. 系统框图
.png)
灵动微32位单片机MM32SPIN060G电机驱动方案应用资料及参考手册请咨询东莞市中铭电子,专业的FAE提供技术支持服务
![]()
全国咨询热线:18929103949(微信同号) 唐小姐
销售部电话:0769-81150556
工程部电话:0769-85638990
QQ:1923681612
邮箱:dgzm699@163.com
总部地址:东莞市大岭山镇矮岭冚村沿河东街8号
佛山办事处:佛山市顺德区容桂镇细滘德宝北路合安街19号
中铭官网:www.zm699.com
| * 联系人: | 请填写您的真实姓名 |
| * 手机号码: | 请填写您的联系电话 |
| 电子邮件: | |
| * 采购意向描述: | |
| 请填写采购的产品数量和产品描述,方便我们进行统一备货。 | |
| 验证码: |
|
| 我要评论: | |
| 内 容: |
(内容最多500个汉字,1000个字符) |
| 验证码: | 看不清?! |
销售电话:0769-81150556
工程电话:0769-85638990
传真:0769-83351643
地址:东莞市矮岭冚村沿河东街8号





共有-条评论【我要评论】